Search This Blog

Sedikit yang Tahu, Cruise Control Ternyata Ditemukan oleh Tunanetra

kumparan - #kumparanAdalahJawaban
 
Sedikit yang Tahu, Cruise Control Ternyata Ditemukan oleh Tunanetra
Oct 19th 2025, 09:00 by kumparanOTO

Penghormatan untuk Ralph Teetor di Upacara Pelantikan National Inventors Hall of Fame. Foto: Dok. Event Photo Journalism
Penghormatan untuk Ralph Teetor di Upacara Pelantikan National Inventors Hall of Fame. Foto: Dok. Event Photo Journalism

Fitur cruise control yang sekarang kerap ditemui pada mobil modern, ternyata lahir dari tangan seorang tunanetra. Namanya Ralph Teetor, pria yang mengubah rasa frustrasi saat mengemudi jadi solusi revolusioner di dunia otomotif.

Teetor lahir pada 17 Agustus 1890 di Hagerstown, Indiana. Saat masih kanak-kanak, ia mengalami insiden kecil di mana saku bajunya bersentuhan dengan pisau yang membuat matanya terluka.

Awalnya kecelakaan itu cuma melukai sebelah mata. Namun, dalam kurun waktu sekitar satu tahun Teetor kehilangan penglihatannya secara total. Infeksi pada matanya dikenal sebagai sympathetic ophthalmia.

Ralph Teetor si penemu cruise control. Foto: dok. Smithsonianmag
Ralph Teetor si penemu cruise control. Foto: dok. Smithsonianmag

Kondisi tunanetra tak membuat Teetor menyerah begitu saja. Ia giat belajar lewat indra lainnya, seperti pendengaran, sentuhan, dan ingatan. Inilah yang membantunya dalam memahami mesin, merasakan getaran, serta memperkirakan komponen mekanik tanpa melihat.

Adapun, bakat mekanik Teetor sudah terlihat sejak kecil. Pada usia 12 tahun, ia berhasil merakit kendaraan kecil dengan mesin sendiri memakai spare part dan bantuan dari keluarganya yang memiliki bengkel.

Hebatnya, ketika dewasa Teetor sukses mengamankan gelar teknik mesin dari University of Pennsylvania pada tahun 1912. Padahal, saat mendaftar kuliah dekan kampus sempat meragukan Teetor akan bertahan sampai akhir.

Knob cruise control milik Raplh Teetor. Foto: Dok. National Inventors Hall of Fame
Knob cruise control milik Raplh Teetor. Foto: Dok. National Inventors Hall of Fame

Usai mengenyam pendidikan, Teetor bekerja di perusahaan milik keluarganya bernama Perfect Circle Company. Ia berperan dalam mengembangkan produk piston ring serta komponen vital di dalam mesin yang membutuhkan kualitas dan ketepatan.

Lebih lanjut, inspirasi penemuan cruise control datang dari kejengkelan kecil pada tahun 1986. Kala itu Teetor menjadi penumpang dalam mobil yang dikendarai Harry Lindsey, sahabat sekaligus pengacaranya. Lindsey kerap mempercepat dan memperlambat kecepatan berdasarkan intensitas obrolan yang membuat Teetor tidak nyaman.

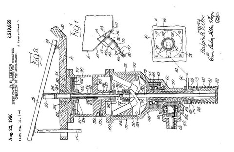
Untuk mengatasi itu, ia mulai menggarap alat yang bisa menjaga kecepatan dengan nama merek Speedostat. Teetor lalu mengajukan paten alat perdananya ini pada tahun 1948 dan memperoleh lisensi pada tahun 1950 (US Patent No. 2,519,859).

Rancangan cruise control milik Raplh Teetor dengan hak paten US Patent No. 2,519,859).   Foto: Dok. National Inventors Hall of Fame
Rancangan cruise control milik Raplh Teetor dengan hak paten US Patent No. 2,519,859). Foto: Dok. National Inventors Hall of Fame

Speedostat adalah pengatur kecepatan pada dasbor, yang dihubungkan melalui poros penggerak menuju mekanisme di ruang mesin. Alat ini menjaga laju kendaraan tetap stabil pada kecepatan yang dipilih pengemudi dengan menahan pedal gas secara konstan.

Fitur itu pertama kali diperkenalkan oleh Chrysler pada tahun 1958 di lini mobil mewah mereka dengan nama Auto-Pilot. Satu tahun setelahnya, Cadillac ikut menawarkan Auto-Pilot dan menyebutnya sebagai cruise control, nama populer yang kini tak asing lagi di dunia otomotif.

Cruise control dinilai punya efek keselamatan dan efisiensi bahan bakar. Lewat kecepatan yang dijaga tetap konstan, pengemudi tak perlu menginjak pedal gas dan rem bergantian sehingga mengurangi konsumsi bahan bakar dan keausan pada mobil.

Knob cruise control milik Raplh Teetor. Foto: Dok. National Inventors Hall of Fame
Knob cruise control milik Raplh Teetor. Foto: Dok. National Inventors Hall of Fame

Teetor sendiri tak hanya berinovasi soal cruise control. Ia punya lebih dari 40 hak cipta selama hidupnya, termasuk untuk produk lain di perusahaan keluarga. Ia juga aktif dalam organisasi teknik dan pendidikan otomotif sebagai Presiden Society of Automotive Engineers (SAE).

Ralph Teetor meninggal pada 15 Februari 1982. Cruise control ciptaannya sekarang jadi fitur andalan mobil modern di seluruh dunia sekaligus menjadi tonggak awal menuju mobil otonom di masa depan.

Media files:
01k7r4sqzkw85q4xa8m6hv4naz.jpg image/jpeg,
You are receiving this email because you subscribed to this feed at blogtrottr.com. By using Blogtrottr, you agree to our policies, terms and conditions.

If you no longer wish to receive these emails, you can unsubscribe from this feed, or manage all your subscriptions.

Tidak ada komentar:

Posting Komentar

Popular Posts